收藏本版 (677) |订阅

今日: 7 |主题: 48817|排名: 3 

发新帖
最新  | 热门  | 热帖  | 精华  | 新窗
筛选: 全部主题 全部时间 默认排序
新窗 更多 
作者 回复/查看 最后发表
“人不可能每一步都正确我不愿回头 New
“人不可能每一步都正确 我不愿回头看 也不愿批判当时的自己”。 ​​​

发表于 2025-12-26 13:53|最后回复:勇往直前的佳佳 2025-12-26 13:53

0 15

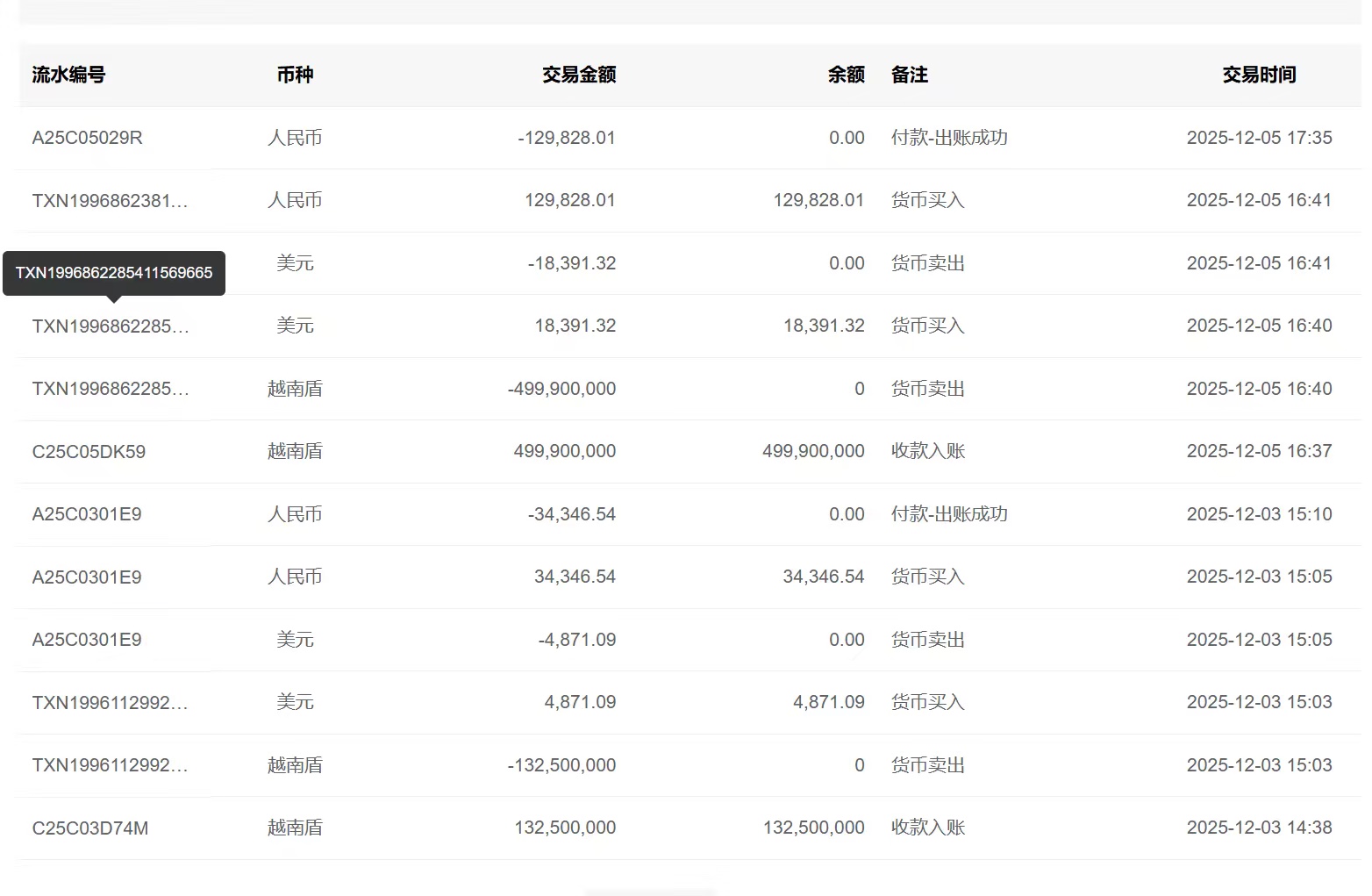
关于VND区欧易-币安OTC如何做?如何做海外的OTC?WISE如何操作OTC? 新人帖 New
近期遇到的最多的问题仍然是关于海外OTC的问题,这大概是国内一些团队推出了付费教学,所以OTC的热度一直都很高。今天的话题也是围绕海外展开。 如何成为VND区的商户? (1 ...

发表于 2025-12-26 13:50|最后回复:anjui 2025-12-26 13:50

0 18

勇闯星际中各式闪光编织而成的Combo冒险 New
当我第一次进入JDB星际水果霸的世界,就像开启了一场未知的银河旅程,随著时空旋转,符号不断消除重生,黄金标志在关键时刻化为百搭,带来惊喜转折。星钻重转中,蓝钻与红 ...

发表于 2025-12-24 19:13|最后回复:luckynekopg 2025-12-26 13:18

1 524

欢乐跑酷新作试玩PG冰雪大冲关《Egg Up!》12月27日上线 New
独立游戏开发商 GalaxyVerse 旗下合作跑酷新作《Egg Up!》将于 2025年12月27日 正式发售。本作定位为一款强调混乱互动与欢乐氛围的多人跑酷游戏,主打轻松上手、强社交属性 ...

发表于 2025-12-26 13:14|最后回复:PG寻龙宝藏 2025-12-26 13:14

0 23

哪里修车比较实惠? 新人帖
例如t1机场附近那家真实惠。二楼 3楼

发表于 2025-12-17 15:29|最后回复:saint9272572980 2025-12-26 12:58

8 485

“怎么会不累呢,一个女孩,没有靠 New
“怎么会不累呢,一个女孩,没有靠山 没有避风港,没有疏导者,没有替我撑腰的人” ​ ​​​

发表于 2025-12-20 13:24|最后回复:西日诺布 2025-12-26 10:11

7 319

电子谱和纸质谱,到底哪个更好呢? New
科技发展得这么快,族谱也有了新选择——电子谱和纸质谱,到底哪个更好呢?电子谱存在云端,啥时候想看家族信息,在哪都能轻松查到。而且修改起来也方便,更新族谱特别高效 ...

发表于 2025-12-26 10:00|最后回复:家文化天奖谱林 2025-12-26 10:00

0 36

现在挂壁老哥很多了吗 heatlevel
没事来闲聊一下,说不定能找到合适的。

发表于 2025-5-18 09:43|最后回复:何日 2025-12-25 11:08

73 12688

࿐‍“敬月光敬自由,敬千万次缝补 New
࿐ ‍ “ 敬月光 敬自由,敬千万次缝补生活的自己” ​​​

发表于 2025-12-23 12:23|最后回复:勇往直前的佳佳 2025-12-25 00:04

0 108

征服PG非洲大冒险就选它!荣耀Play10A承诺三年不卡顿 New
荣耀Play10A正式上架并开启预约,新机提供4GB+128GB与6GB+128GB两种存储组合,配色方面带来海湖青、墨岩黑、碧空蓝三种选择,主打轻薄耐用与长续航体验。同时,新机兼容多 ...

发表于 2025-12-24 12:20|最后回复:PG寻龙宝藏 2025-12-24 12:20

0 96

PG试玩新游预告!《Bash Moto》让你重返90年代暴力摩托时代 New
由 Developer Dob 打造的全新动作竞速游戏 《Bash Moto》 预计于2026年发售。本作将带PG电子试玩玩家回到90年代复古街机风格的摩托世界,感受速度与混乱并存的极限骑行体验 ...

发表于 2025-12-23 16:02|最后回复:菲律宾留学Bryce 2025-12-24 09:19

1 109

​Jeepney 的“彩虹涂装”不是装饰,是司机的“自传”​ New
每辆 Jeepney 的颜色、贴纸、标语都是司机 ​亲手设计,相当于他的“名片”: 贴 ​圣母玛利亚像​ = 信仰虔诚; 贴 ​明星照片​ = 追星族; 写 ​​“God First, Family ...

发表于 2025-12-24 09:16|最后回复:菲律宾留学Bryce 2025-12-24 09:16

0 77

台湾台中 木村爷爷脆皮肉圆 New
70年脆皮肉圆老店 [video=https://oss-ali-hk.wangwanglive.com/pic/20251223/1766484006927444898.jpg]https://oss-ali-hk.wangwanglive.com/video/20251223/176648400692 ...

发表于 2025-12-23 18:00|最后回复:op10307 2025-12-23 18:00

0 87

金刚体验心得:72倍加乘转不停,电子福利超有感 新人帖 New
最近试玩了一款游戏JDB金刚,72倍转盘真的刺激!免费游戏中奖后还能连续乘倍,奖金翻倍速度快,让人电子试玩停不下来。 整体玩法流畅,赚分机会多,完全不用担心没有赢奖 ...

发表于 2025-12-23 15:07|最后回复:luckynekopg 2025-12-23 15:07

0 853

比PG狂暴少女还疯狂?《Taxi Chaos 2》今日开战,体验最刺激的载客竞赛 New
由 Focuspoint Studios 开发、Current Games 发行的街机风格竞速游戏《Taxi Chaos 2》于 今日(12 月 23 日)正式发售。游戏现已登陆 PC(Steam)、Nintendo Switch、Xbox ...

发表于 2025-12-23 13:19|最后回复:PG寻龙宝藏 2025-12-23 13:19

0 97

越乱越好玩!4v2非对称BB糖果派对游戏《普力多 普力兹纳》圣诞节前夕上线
由 PinCool 打造的BB全新糖果派对游戏《普力多 普力兹纳》将于 2025 年 12 月 24 日登陆 PC Steam、Nintendo Switch 2 以及 Nintendo Switch BBIN游戏平台。这是一款主打欢 ...

发表于 2025-12-19 13:51|最后回复:PG寻龙宝藏 2025-12-23 08:11

0 129

小米手表5官宣!搭载骁龙W5芯片,PG星旅淘金智能协同再升级 New
今日,小米正式官宣小米手表5,新品将于12月25日与小米17 Ultra同台亮相,定位全智能旗舰手表。随着智能穿戴生态不断扩展,这款新品也被不少PG电子用户关注,甚至被认为能 ...

发表于 2025-12-22 15:45|最后回复:PG寻龙宝藏 2025-12-22 15:45

0 120

百家姓“陈、田、胡、姚、妫”本为一家人 New
陈姓、姚姓、胡姓、田姓、妫姓,这五个姓氏里,他们本就是一家人,这就是中国历史上非常有深厚文化背景的“妫汭五姓”。这五个姓氏都出自于舜帝,五个姓氏按照时间的先后顺 ...

发表于 2025-12-22 15:09|最后回复:家文化天奖谱林 2025-12-22 15:09

0 108

谁认识这个傻逼 新人帖 New
这个傻逼得糖尿病一点都不冤,你家里人都死光了干你妈房产中介卷钱跑路看你这揍性10万p留着给你爸妈烧纸吧臭傻逼

发表于 2025-12-22 14:17|最后回复:k01 2025-12-22 14:17

0 202

台湾台中 美食趣味挑战Day9 New
[video=https://oss-ali-hk.wangwanglive.com/pic/20251221/1766309578036238636.jpg]https://oss-ali-hk.wangwanglive.com/video/20251221/1766309578036197141.mp4[/vide ...

发表于 2025-12-21 17:33|最后回复:op10307 2025-12-22 12:52

0 114

海边新能源工厂 新人帖 New
你好,欢迎来到我们菲律宾工厂!

发表于 2025-12-20 12:31|最后回复:XanderHuang 2025-12-22 10:18

0 169

专注中加海运:让您的厨房好物安全海运到加拿大 新人帖 New
无论是移民搬家、海外开店,还是为亲友代购,广州递接物流为您提供专业、安全、高效的海运门到门服务。递接物流支持整柜(FCL)与拼箱(LCL)运输,提供免费代收、打包、仓 ...

发表于 2025-12-20 17:21|最后回复:Eva97 2025-12-20 17:21

0 124

天马签证的工作人员还在吗 新人帖 New
天马签证的工作人员还在吗

发表于 2025-12-20 11:10|最后回复:盖世英雄啊 2025-12-20 11:10

1 209

台湾台中 忠孝路烧肉粥 New
[video=https://oss-ali-hk.wangwanglive.com/pic/20251219/1766138353453352868.jpg]https://oss-ali-hk.wangwanglive.com/video/20251219/1766138353453310461.mp4[/vide ...

发表于 2025-12-19 17:59|最后回复:op10307 2025-12-19 17:59

0 127

我的TG:aud8088
我的TG:aud8088

发表于 2025-12-17 11:08|最后回复:卢卡 2025-12-19 17:26

3 207

还可输入 80 个字符
您需要登录后才可以发帖 登录 | 立即注册

本版积分规则

关闭

站长推荐上一条 /1 下一条

扫码添加微信客服
返回版块 返回顶部